Утверждены Минавтодором РСФСР 7 августа 1969 года
ВЕДОМСТВЕННЫЕ СТРОИТЕЛЬНЫЕ НОРМЫ
УКАЗАНИЯ ПО ЗАЩИТЕ И ОЧИСТКЕ АВТОМОБИЛЬНЫХ ДОРОГ ОТ СНЕГА
ВСН 4-69
Внесены Государственным Всесоюзным дорожным научно-исследовательским институтом (Союздорнии).
Утверждены Протоколом совещания при Техническом управлении Министерства строительства и эксплуатации автомобильных дорог РСФСР 20 июня 1969 г.
Утверждены Министром строительства и эксплуатации автомобильных дорог РСФСР А. Николаевым 7 августа 1969 г.
Указания по защите и очистке автомобильных дорог от снега разработаны Союздорнии по заданию Министерства строительства и эксплуатации автомобильных дорог РСФСР. Они дополняют главу 17 Технических правил содержания и ремонта автомобильных дорог (ВСН 22-63).
В Указаниях изложены меры по уменьшению снегозаносимости дорог, рациональная технология и организация защиты дорог от снежных заносов, очистки от снега и защиты от лавин.
Указания предназначены в качестве обязательного руководства для всех дорожных организаций министерства, занимающихся очисткой и защитой автомобильных дорог от снега.
При их разработке использованы результаты исследований Союздорнии, Транспортно-энергетического института СО АН СССР, ЦНИИ МПС, МГУ, ЦНИИС Минтрансстроя, а также передовой опыт зимнего содержания дорог дорожных хозяйств Гушосдора и Главдорупра Министерства строительства и эксплуатации автомобильных дорог РСФСР.
Указания подготовил канд. техн. наук Г.В. Бялобжеский (Гипродорнии) с участием инженеров А.Г. Богачева и В.Д. Казанского.
I. ОБЩИЕ ПОЛОЖЕНИЯ
§ 1. Дорожная служба в зимний период должна поддерживать автомобильные дороги в состоянии, обеспечивающем проезд автомобилей с установленными скоростями при соблюдении необходимых удобств и безопасности движения.
Снежные отложения, образующиеся на дорожном полотне, могут вызывать снижение скорости автомобилей или полный перерыв движения. Чтобы предотвратить ухудшение условий движения, дорожная служба проводит комплекс мероприятий по снегоборьбе, в который входит защита дорог от заносов, очистка их от снега и защита от лавин в горных районах.
§ 2. Снежные явления делятся на четыре основные группы: а) выпадение снега из облаков без переноса ветром частиц ранее выпавшего снега - спокойный снегопад (в безветренную погоду) и верховая метель (при слабом ветре); б) перенос частиц ранее выпавшего снега без выпадения снега из облаков - поземка (перенос с незначительным поднятием снега над уровнем снежного покрова не выше 20 - 30 см), низовая метель (перенос, сопровождающийся поднятием снежной пыли на высоту нескольких метров); в) выпадение снега из облаков в сочетании с переносом частиц ранее выпавшего снега, называемое общей или двойной метелью; г) обрушение снега с горных склонов в виде лавин.
Явления первой группы образуют на дорогах сравнительно равномерные отложения, имеющие небольшую толщину и плотность. Явления второй и третьей групп вызывают образование заносов - отложений перенесенного снега, достигающих значительной толщины и плотности. Явления четвертой группы вызывают образование снежных завалов, имеющих очень большие объемы и состоящих из плотного снега, иногда смешанного со льдом, а в отдельных случаях и с камнями.
§ 3. Мероприятия по снегоборьбе должны выполняться в кратчайшие сроки в соответствии с наличием ресурсов в дорожных хозяйствах, важностью дороги и условиями движения на ее отдельных участках. Сроки проведения мероприятий по снегоборьбе (директивные сроки работ) устанавливают управления дорог или областные (краевые) управления строительства и ремонта автомобильных дорог для дорожных организаций подведомственной сети. Особое внимание необходимо уделять снегоборьбе на важнейших дорогах общегосударственного, республиканского и областного значений, на дорогах с постоянным автобусным движением, с туристским движением или обслуживающих постоянно действующие курорты. На этих дорогах мероприятия по снегоборьбе проводят в первую очередь.
§ 4. Вся система снегоборьбы должна быть построена таким образом, чтобы, с одной стороны, обеспечить наилучшие условия для проезда автомобилей, с другой - максимально облегчить, ускорить и удешевить снегоборьбу. Это достигается правильным выбором и сочетанием мер по защите и очистке дорог от снега. Одна из основных задач - свести к минимуму объем снега, откладывающегося на дорожном полотне. С этой целью особенно важно: а) принять меры к уменьшению заносимости дороги; б) постоянно поддерживать поверхность дороги в ровном и обтекаемом для снеговетрового потока состоянии; в) надежно оградить защитой все заносимые участки; на горных дорогах - принять меры для защиты от снежных лавин. Отложившийся на дорожном полотне снег должен быть незамедлительно удален. Выбор мероприятий по снегоборьбе в необходимых случаях должен быть обоснован технико-экономическими расчетами.
§ 5. Под снегозаносимостью понимается подверженность дороги образованию снежных заносов. На степень заносимости влияет совокупность местных природных условий и особенностей трассы дороги (климатические условия, рельеф, растительность, поперечный профиль земляного полотна, проложение дороги в плане и т.д.). Ввиду многообразия факторов, влияющих на заносимость, защита от снежных заносов решается для каждой дороги индивидуально на основе опыта эксплуатации прежних лет. От заносимости дороги в очень сильной степени зависит трудность ее зимнего содержания. Поэтому дорожная служба обязана в процессе эксплуатации выявлять заносимые места, устанавливать причины образования снежных заносов, разрабатывать и осуществлять меры, уменьшающие или полностью устраняющие заносимость.
§ 6. Если защита организуется впервые, то на дорогах, проходящих в открытой местности, участки, подлежащие ограждению, определяют с учетом признаков заносимости, указанных в табл. 1.
Таблица 1
Краткая характеристика заносимых мест и очередность их ограждения снегозащитой
---------------T------------------------------T-------------------
Категория заносимости участков ¦ Очередность ограждения ¦ Характеристика участка
---------------+------------------------------+-------------------
Сильнозаносимые ¦ Ограждаются в первую очередь ¦ Нераскрытые выемки глубиной до 6,0 - 8,5 м и больше, если их подветренный откос не может вместить весь снег, приносимый зимой.
Среднезаносимые ¦ Ограждаются во вторую очередь после сильно-заносимых участков ¦ Выемки с уположенными откосами, разделанные под насыпь или раскрытые. Нулевые места и невысокие насыпи ниже H <*> ¦
Слабозаносимые ¦ Ограждаются в третью очередь после сильно- и среднезаносимых участков ¦ Насыпи высотой от H <*> до H <**>
Незаносимые ¦ Не ограждаются ¦ Насыпи высотой H и более. Нераскрытые выемки, подветренный откос которых может вместить весь снег, приносимый зимой.
--------------------------------
<*>
- средняя многолетняя наибольшая в течение зимы высота снежного покрова в данной местности, м.
<**>
- высота незаносимой насыпи в данной местности, м.
Дороги, проходящие по лесным массивам, заносам не подвержены. Если в лесу имеются разрывы и просеки, то на таких участках должны применяться меры защиты от снежных заносов.
§ 7. Одной из основных мер, устраняющих заносимость, является подъем насыпи.
Высота, обеспечивающая незаносимость насыпи, определяется по формуле
, (1)
где
- высота незаносимой насыпи, м;
- максимальная высота снежного покрова в данной местности, принимаемая с расчетной вероятностью превышения 5%, м;
- превышение насыпи над снежным покровом для увеличения скорости воздушного потока до величины, обеспечивающей отсутствие отложений на дорожном полотне и беспрепятственное размещение снега, который сбрасывается с дорожного полотна при снегоочистке, м.
зависит от ширины земляного полотна и для дорог IV и V категорий должно приниматься равным 0,5 м, II и III категорий - 0,6 м, I категории - 0,8 м. Насыпи, не отвечающие приведенному условию, заносятся снегом при метелях и должны ограждаться снегозащитой.
§ 8. Выемки не заносятся в том случае, если снег, приносимый за зиму метелями, может разместиться на подветренном откосе.
В зависимости от района и прилегающей местности необходимо ограждать выемки глубиной до 6,0 - 8,5 м и больше (если это требуется по местным условиям). Чем больше объем снегопереноса, тем более глубокие выемки требуют ограждения.
Раскрытые выемки заносятся снегом медленнее, чем выемки с крутыми откосами. Поэтому смысл раскрытия выемок заключается в том, чтобы уменьшить заносимость и объем работ по снегоочистке.
Рекомендуется раскрывать или разделывать под насыпь выемки глубиной до 1 м (рис. 1). В выемках глубиной от 1 до 5 м следует устраивать уположенные откосы с заложением от 1:6 до 1:4 (с увеличением глубины выемок пологость откосов уменьшается).

Рис. 1. Выемки: а - раскрытая; б - разделанная под насыпь
Раскрытые выемки и выемки с уположенными откосами должны ограждаться снегозащитой.
§ 9. Если заносимость вызывается неправильным проложением дороги в плане, необходимо при первой возможности произвести перетрассировку заносимых участков. Для правильного выбора нового направления нужно провести зимние изыскания с промером высоты снежного покрова в период максимального накопления снега. При изысканиях должны быть выявлены участки местности, где интенсивно откладывается снег и возможно образование заносов в случае прокладки дороги. Такие места нужно обходить. При невозможности проведения изысканий или в дополнение к полученным при изысканиях данным следует руководствоваться излагаемыми далее положениями о влиянии рельефа местности на заносимость.
§ 10. При прохождении по косогорам заносимость дороги возрастает. Особенно интенсивно снег откладывается на подветренных косогорах. На наветренных косогорах зоны отложения снега расположены у подножий (в пределах 5 - 10 м выше подошвы). По этим причинам трассу дороги следует располагать в средней или верхней трети наветренного косогора или прокладывать по водоразделу. Всякие углубления на косогорах, в том числе на наветренных сильно заносятся. Поэтому дорогу не следует прокладывать по косогору в выемке; лучше устроить насыпь или полувыемку-полунасыпь. В этом случае заносимость уменьшается и создаются более благоприятные, чем в выемках, условия для очистки дорожного полотна от снега.
§ 11. При трассировании дороги следует обходить понижения местности (ложбины, котловины), которые сильно заносятся снегом, или пересекать их по кратчайшему направлению. Надо использовать возможность проложения трассы через встречные лесные массивы, так как они служат естественной защитой. Участки дорог на кривых больше подвержены заносам, чем прямые участки. Особенно сильно заносятся выемки на кривых, поэтому устройства таких выемок следует избегать. Наименее заносимы участки, где направление господствующих ветров совпадает с направлением дороги или составляет с ним угол не более 30°. Поэтому трассирование дорог по возможности следует производить вдоль господствующих зимних ветров или под малыми углами к ним.
§ 12. Для прокладки дороги рекомендуется использовать такие участки местности, где принос снега уменьшается благодаря наличию препятствий, задерживающих снег: глубоких балок и оврагов, искусственных каналов, выемок, поселков, возвышенностей, дубрав, лесопосадок и т.д. Эти препятствия следует обходить с подветренной стороны.
§ 13. Защита дорог от снежных заносов осуществляется с помощью снегозащитных насаждений или искусственных устройств. Снегозащитные насаждения экономичнее и защищают дорогу надежнее, чем искусственные снегозащитные устройства. Поэтому насаждения должны быть основным видом защиты дорог от заносов. Посадка и уход за насаждениями выполняются в соответствии с правилами озеленения автомобильных дорог (см. гл. VI Технических правил содержания и ремонта автомобильных дорог ВСН 22-63). Если нельзя положительно решить вопрос об отводе земли под насаждения или они еще не вступили в работу, необходимо пользоваться искусственными снегозащитными устройствами. Для защиты дорог от снежных заносов применяют следующие группы устройств: I - снегозадерживающие устройства, которые задерживают переносимый снег и не допускают его к дороге; II - устройства снегопередувающего действия, увеличивающие скорость снеговетрового потока и способствующие переносу снега через дорогу. Большая часть применяемых в настоящее время устройств работает по принципу снегозадержания.
§ 14. К снегозадерживающим устройствам относятся: снежные траншеи, снежные стенки и валы, переносные щиты, снегозадерживающие заборы, каменные стены, простейшие ограждения из местных материалов (хворостяные изгороди и т.п.). Целесообразные условия применения различных типов снегозадерживающих устройств указаны в табл. 2.
Таблица 2
Условия применения снегозадерживающих устройств
----------------T-----------------------------T----------------------------
Тип снегозадерживающего устройства ¦ Целесообразные условия применения ¦ Краткая характеристика преимуществ и недостатков
----------------+-----------------------------+----------------------------
1 ¦ 2 ¦ 3
----------------+-----------------------------+----------------------------
Снежные ¦ Применяются, кроме сильно- ¦ Работы по прокладке и
траншеи ¦ заносимых участков, во всех ¦ эксплуатации траншей и валов
¦ случаях, когда снежный покров ¦ полностью механизированы.
¦ и рельеф местности позволяют ¦ Стоимость ниже, чем щитов и
¦ проложить траншеи ¦ заборов. Не нужны материалы.
----------------+-----------------------------+ Пронос снега на дорогу при
Снежные валы ¦ Применяются взамен траншей ¦ метелях несколько больше,
¦ при малой толщине снежного ¦ чем у щитов и заборов
¦ покрова (до 20 см) ¦
----------------+-----------------------------+----------------------------
Переносные щиты ¦ Применяются для защиты ¦ Маневренное средство
¦ сильнозаносимых мест, а также ¦ снегозадержания, которое
¦ на участках, где рельеф ¦ можно применять в разных
¦ местности не позволяет ¦ условиях. Требуется ручная
¦ проложить снежные траншеи ¦ работа при изготовлении и эксплуатации и материалы: щитопланка, гвозди, колья и т.д.
----------------+-----------------------------+----------------------------
Снего- ¦ Применяются для защиты ¦ Дорогое средство
задерживающие ¦ сильнозаносимых мест, а также ¦ снегозащиты, требует много
заборы ¦ на участках, где нельзя ¦ материалов и отвода земли
¦ проложить траншеи, в районах ¦ для размещения заборов.
¦ с особенно интенсивными метелями, затрудняющими своевременную перестановку щитов¦ После постройки работа по эксплуатации сводится к минимуму. Обеспечивают надежную защиту дороги
----------------+-----------------------------+----------------------------
Каменные стены ¦ Применяются в горных условиях при наличии достаточного количества камня и при трудности получения лесоматериала ¦ Требуется ручной труд при постройке. Объем работы значителен. Долговечны. Работа по эксплуатации минимальна
----------------+-----------------------------+----------------------------
Ограждения из местных материалов (изгороди и щиты из хвороста, тростника и других материалов). Применяются при невозможности использовать другие средства защитыю. Недолговечны. Срок службы 1 - 2 сезона.
§ 15. При правильном устройстве и эксплуатации снежные траншеи - эффективное и недорогое средство защиты дорог от заносов. Эффективность снегозадерживающего действия траншейной защиты обеспечивается правильным назначением: а) количества одновременно закладываемых траншей; б) расстояния между соседними траншеями; в) расстояния ближней траншеи от дороги. Траншеи могут применяться как самостоятельное средство защиты или в сочетании с другими средствами (насаждениями, заборами, щитами), чтобы усилить снегозадерживающее действие и повысить надежность снегозащитных линий. Не следует применять траншеи как самостоятельное средство защиты на сильнозаносимых участках (см. табл. 1). На таких участках траншеи устраивают в качестве вспомогательного средства защиты, если необходимо усилить основные защитные линии. Наиболее целесообразно применение траншеи в равнинной или слабопересеченной местности, где рельеф не затрудняет их прокладку.
§ 16. В начале зимы при небольшой толщине снежного покрова (меньше 0,2 м) траншеи получаются неглубокими и снегосборная способность их незначительна. В таких случаях вместо траншей следует устраивать снежные валы. Технология их устройства заключается в том, что при прокладке траншей снег раздвигается в стороны, на края обрабатываемой полосы, а при устройстве валов - собирается со всей полосы на ее середину (рис. 2). Для устройства снежных валов применяют снегособиратели (риджеры).

Рис. 2. Схема механизированного устройства защит из снега: а - траншея; б - снежный вал
§ 17. При толщине снежного покрова более 0,20 м вдоль заносимых участков устраивают снежные траншеи. Для этого можно использовать плужные двухотвальные тракторные снегоочистители, бульдозеры, кусторезы, прицепные угольники с тракторной тягой. Особенно эффективны двухотвальные плужные снегоочистители, монтируемые на мощных колесных тракторах или тягачах, которые могут прокладывать траншеи на повышенных скоростях и благодаря этому дают большую производительность. Траншеи прокладывают в снежном покрове последовательными проходами машин параллельно дороге. Если позволяют толщина, плотность и прочность снежного покрова, двухотвальные снегоочистители работают с развернутыми крыльями. Прокладка траншей параллельно дороге применяется во всех случаях независимо от преобладающего направления метелевых ветров.
§ 18. Для обеспечения надежной защиты и максимального задержания переносимого снега необходимо прокладывать с каждой стороны дороги и постоянно иметь на протяжении всего зимнего периода одновременно следующее количество траншей:
<1> Объемом снегопереноса называется количество снега, приносимое метелями в течение зимы на единицу длины дороги с каждой ее стороны. Объем снегопереноса измеряется в кубических метрах на 1 м протяжения дороги. Траншеи должны постоянно поддерживаться в работоспособном состоянии (не должны быть занесены снегом).
§ 19. Оптимальное расстояние между осями соседних траншей, обеспечивающее их наибольшую снегосборную способность, составляет 12 - 15 м.
§ 20. Ближайшую к дороге траншею, при отсутствии других средств снегозащиты, размещают не ближе 30 м и не дальше 100 м от бровки дороги. Если траншеи служат дополнительным средством защиты к имеющимся насаждениям, щитам или заборам, то ближайшую к дороге траншею размещают с полевой стороны имеющихся снегозащитных линий на расстоянии 20 - 30 м от них.
§ 21. Эффективность снегозадерживающего действия возрастает с увеличением глубины снежных траншей и высоты снежных валов, образующихся по их краям. Мелкие траншеи представляют собой слабую снегозащиту; после накопления в них снега являются основой для формирования более глубоких траншей. Поэтому после заполнения траншей снегом до половины глубины производится их прочистка (возобновление) проходами машин по старому следу. Эту работу необходимо проводить своевременно, так как после заполнения до половины глубины снегозадерживающая способность траншей сильно снижается, что может привести к образованию снежных заносов на дороге.
§ 22. По мере увеличения толщины расчищаемого слоя снега снижается производительность машин, работающих на возобновлении траншей. Поэтому траншеи прочищают до тех пор, пока толщина снегоотложений в них не достигнет следующей величины:
Возобновление траншей после этого прекращают и приступают к прокладке новых траншей параллельно имеющимся. Новые траншеи последовательно закладывают в 12 - 15 м друг от друга и от первоначальных траншей. Во второй половине зимы целесообразна прокладка новых траншей в промежутках между первоначальными, если это позволяет высота снегоотложений.
§ 23. При устройстве и возобновлении траншей на прилегающих к дороге полях, занятых озимыми, на дне траншей должен быть оставлен снег слоем около 10 см во избежание вымерзания и повреждения озимых гусеницами трактора. В остальных случаях дно траншеи после прохода агрегата должно быть свободным от снега. Траншеи нельзя прокладывать на площадях, занятых молодыми посадками снегозащитных лесных полос. Для предохранения посадок от повреждений машинами у крайних рядов лесных полос в осенний период устанавливают хорошо заметные знаки (высокие столбы, вехи и т.д.).
§ 24. Если траншеи устраивают в качестве дополнительного средства защиты с подветренной стороны имеющихся снегозащитных линий, то в зависимости от объема снегопереноса и состояния снегозащиты количество одновременно закладываемых траншей может быть уменьшено на 1 - 2 по сравнению с количеством, указанным в § 18.
§ 25. Прокладывать и возобновлять траншеи следует по возможности, в тихую, безветренную погоду (в промежутках между метелями) или при слабом ветре, когда перенос снега не препятствует видимости.
§ 26. Применяя переносные щиты для защиты дорог от заносов, необходимо принимать меры, обеспечивающие наибольшую эффективность их работы. Переносные щиты должны удовлетворять следующим основным требованиям: обладать максимальной снегозадерживающей способностью при минимальной зарабатываемости снегом, обеспечивать наибольшую продолжительность между перестановками, иметь возможно меньшую стоимость, не требовать большого расхода материалов, быть достаточно прочными. Для этого надо правильно выбрать основные конструктивные параметры: высоту щита, общую просветность (отношение суммарной площади просветов к общей площади), коэффициент распределения просветности (отношение просветности нижней части щита к просветности верхней части), сечение элементов.
§ 27. Высота щитов - один из основных параметров, от которых зависит их работоспособность. Переносные щиты изготовляют высотой 1,5 - 2,0 м; полутораметровые щиты применяют в районах с объемом снегопереноса до 100 м3/пог. м, а двухметровые - в районах с объемом снегопереноса не менее 100 м3/пог. м.
§ 28. Общая просветность существенно влияет на снегозадерживающую способность щитов и форму снежных отложений. Оптимальное значение общей просветности щитов зависит от скорости ветра. Общая просветность назначается в соответствии с максимальной скоростью ветра при метелях в данной местности. Рекомендуются следующие значения общей просветности переносных щитов: в районах со скоростью ветра при метелях до 20 м/сек - 60%, в районах со скоростью ветра при метелях более 20 м/сек - 50% для одиночных линий щитов и первых рядов двойных линий, 60% для вторых (полевых) рядов двойных линий щитов.
§ 29. Коэффициент распределения просветности - один из основных показателей, влияющих на форму снежных отложений у щитов и на степень заносимости их снегом. Переносные щиты следует делать с увеличенной просветностью в нижней части, принимая значение коэффициента распределения просветности равным 1,5.
§ 30. Для защиты автомобильных дорог от снежных заносов следует применять четыре типа решетчатых щитов (рис. 3):

Рис. 3. Переносные решетчатые щиты
Щиты типов I и III применяют в районах с объемом снегопереноса более 100 м3/пог. м, а II и IV - в районах с объемом снегопереноса не более 100 м3/пог. м. У щитов с разреженной нижней частью все вертикальные планки для прочности делают толщиной 16 мм. Горизонтальные планки и диагонали изготовляют из щитопланки толщиной 12 - 13 мм.
§ 31. Щиты устанавливают сплошной линией параллельно оси дороги, привязывая их к кольям мягкой отожженной проволокой, веревкой или другим достаточно прочным материалом. Колья диаметром 6 - 8 см и длиной 2,5 - 3,5 м забивают до замерзания грунта в предварительно просверленные отверстия на глубину 0,5 м. Расстояния между кольями должны быть равны 1,9 м. Чтобы предохранить ножки щитов от примерзания к грунту, щиты следует привязывать к кольям так, чтобы между грунтом и ножками оставался просвет 5 см.
§ 32. Если отсутствуют колья или их нельзя забить, щиты ставят с наклоном друг к другу (в козлы), прочно связывая верхние концы. Как только у щитов, поставленных в козлы, накопятся снежные отложения толщиной 25 - 30 см, щиты ставят вертикально, обвалив низ снегом и притрамбовав его.
§ 33. В местности с малоинтенсивной метелевой деятельностью (при объемах снегопереноса меньше 50 м3/пог. м на среднезаносимых и слабозаносимых участках дорог при небольшой интенсивности движения вместо сплошных линий можно создавать щитовые линии с разрывами шириной, равной расстоянию между кольями (1,9 м) и не чаще, чем через каждые три щита (рис. 4).

Рис. 4. Схема установки щитов с разрывами (b - расстояние между кольями)
§ 34. Щитовые линии в плане должны быть в виде прямой или плавной кривой без изломов и резких изгибов линии. При установке щитов на прямых участках дорог линию нужно провешивать. Щиты по возможности следует ставить по верху возвышений (бугров, валов), находящихся в пределах дорожной полосы, и избегать понижений.
§ 35. При преобладании ветров, дующих под острыми углами к оси дороги, необходимо ставить через 60 м перпендикулярно к основной щитовой линии короткие звенья щитов с таким расчетом, чтобы концы этих звеньев подходили к дороге не ближе чем на 10 м.
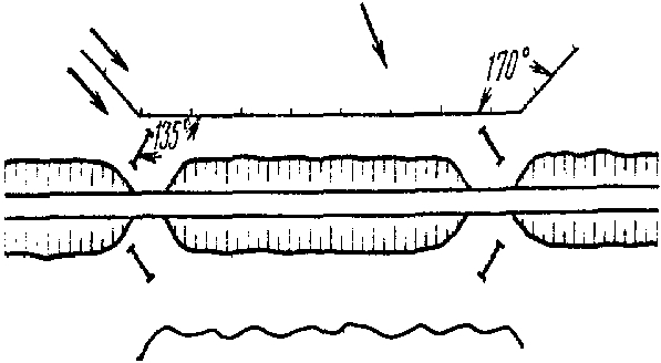
§ 36. В местах перехода из выемки в насыпь концы щитовых линий следует снабжать разветвленными отводами в сторону дороги под углом 135°, а от дороги - 170° к основной линии, причем между отводом и основной линией делают разрыв 4 м (рис. 5).

Рис. 5. Схема ограждения выемок щитовыми линиями