§ 37. Первоначальное расстояние установки щитов следует назначать в зависимости от объема снегопереноса. Расстояние должно быть достаточным для того, чтобы шлейф отложений не доходил до бровки дорожного полотна. Однако оно не должно быть чрезмерно большим во избежание сдувания больших объемов снега к дороге. Из этих соображений расстояние первоначальной установки щитовой линии от дороги не должно превышать 60 м (за исключением районов Крайнего Севера). Рекомендуется устанавливать двухметровые щиты на следующем расстоянии от бровки дорожного полотна:
В районах Крайнего Севера двухметровые щиты ставят в 80 м от дороги, если угол между направлением господствующих метелевых ветров и дорогой меньше 60°. Если этот угол больше 60°, щиты ставят на расстоянии 100 м. Полутораметровые щиты можно устанавливать на 5 м ближе, чем двухметровые. Если перед началом зимы щитовую линию нельзя установить на указанном расстоянии, ее устанавливают на границе полосы отвода, а после образования снежного покрова относят в поле на необходимое расстояние.
§ 38. В течение всей зимы за щитовой линией тщательно наблюдают для обеспечения нормальной работы и своевременной перестановки. Перестановку или подъем щитов по кольям делают, когда: а) высота снежного вала достигает уровня, составляющего в местностях с интенсивной метелевой деятельностью 2/3 высоты щита, а в местностях с неинтенсивной метелевой деятельностью - полной высоты щита; б) непосредственно у щитовой линии слой снега достигает 50 см. Необходимость перестановки щитов устанавливают по тому из признаков, который наступает раньше.
§ 39. Щиты надо переставлять на вершину более высокого из образовавшихся валов вертикально, непосредственно в снег, в выкопанную вдоль вала канавку сечением 25 x 25 см. В процессе перестановок щитовую линию нельзя слишком приближать к дороге, чтобы шлейф снежных отложений не вышел на дорожное полотно. Если расстояние недостаточно и есть опасение, что шлейф снежных отложений может выйти на дорогу, щиты перестанавливают в сторону поля на 20 - 30 м.
§ 40. В районах с особенно длительными и интенсивными метелями, во время которых перестановка щитов весьма затруднительна, одиночные линии не могут защитить дорогу от заносов. В таких районах щитовые линии ставят в два, три и более рядов. Расстояния между рядами в двух- и трехрядных щитовых линиях принимают равным 30 высотам щита, причем первый, ближайший к дороге, ряд ставят на расстоянии 20 высот от бровки полотна. Многорядные щитовые линии формируют из щитов разной просветности. Ближайшие к полю линии создают из щитов с редкой решеткой (рекомендуются щиты с разреженной нижней частью типа III), а ближний к дороге ряд из щитов с более густой решеткой (тип I).
§ 41. По окончании зимы щиты и колья должны быть собраны и сложены на обрезе дороги в штабеля. У дорожных зданий щиты хранят в тех случаях, когда этого нельзя сделать на обрезе. Перед уборкой щиты осматривают и сортируют на годные, требующие ремонта, и непригодные для дальнейшего использования. Одновременно комиссия в составе главного инженера дорожного участка, старшего бухгалтера и начальника ДРП или дорожного мастера проводит инвентаризацию.
§ 42. Годные и отремонтированные щиты складывают в штабеля по 50 - 60 щитов (на пикет). Хранят их на станках из стоек с поперечинами и двух опорных кольев, забиваемых в середине станка. Поперечины надо располагать выше травяного покрова для проветривания штабеля (рис. 6).

Рис. 6. Хранение щитов на станках
§ 43. Колья убирают после полного оттаивания грунта, одновременно отбирая не годные к дальнейшему употреблению. Годные колья укладывают в конические штабеля (конусы) заостренными концами вверх. Штабель на уровне 2/3 высоты обвязывают проволокой. Штабеля щитов и кольев должны иметь бирку с указанием номера штабеля, количества щитов, фамилии должностного лица, на хранении у которого находится имущество.
§ 44. В местности с интенсивной метелевой деятельностью, где нельзя своевременно переставить щиты при метелях, а по условиям рельефа или по другим причинам нельзя защищать дорогу двух- и трехрядными линиями переносных щитов, устанавливают высокие снегозадерживающие заборы. Высокий забор - дорогое сооружение, поэтому целесообразность его устройства обосновывают экономическим расчетом. Постройка забора должна производиться по специальному проекту. Наиболее целесообразны снегозащитные заборы на Крайнем Севере и в степной местности с большим объемом снегопереноса.
§ 45. Высоту забора определяют в зависимости от объема снегопереноса в данной местности по формуле
, (2)
где H - высота забора, м;
- объем снегопереноса, м3/пог. м.
Не следует делать заборы выше 5 м. Если по расчету требуется большая высота, устраивают два или три ряда заборов.
§ 46. Общую снегосборную способность заборов, поставленных в несколько рядов, можно определить по формуле
, (3)
где Q - объем снега у многорядных защит, м3/пог. м.;
H - высота забора, м;
l - расстояние между рядами заборов, которое следует принимать в пределах до 30H, м;
n - количество рядов заборов;
- коэффициент, характеризующий степень заполнения пространства между рядами заборов (можно принимать равным 0,8);
- коэффициент, равный 8.
§ 47. Снегозадерживающие заборы устраивают: а) двухпанельные с просветностью решетки панелей 50% - применяют при устройстве заборов в один ряд или в ближайшем к дороге ряду при устройстве заборов в несколько рядов; б) однопанельные с просветностью решетки в 70% - для остальных рядов многорядных заборов.
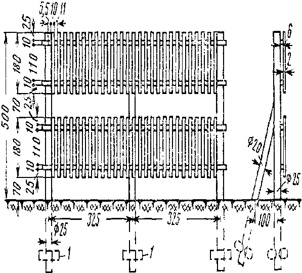
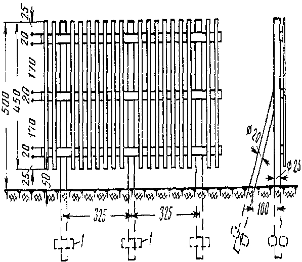
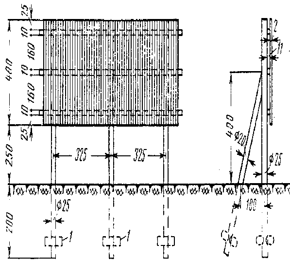
§ 48. Снегозадерживающие заборы можно строить из дерева или железобетона. Деревянные снегозадерживающие заборы рекомендуется применять трех типов: I - двухпанельные высотой 4 м, высота продуваемых проемов равна 0,6 м и каждой панели по 1,4 м (рис. 7, а); II - двухпанельные высотой 5 м, высота продуваемых проемов равна 0,7 м и каждой панели по 1,8 м (рис. 7, б); III - однопанельные с увеличенной просветностью высотой 5 м, высота нижнего продуваемого проема 0,5 м (рис. 7, в).
а)

б)

в)

Рис 7. Рекомендуемые типы снегозадерживающих заборов: 1 - противопучинные анкеры (брусок 10 x 14 см или пластины длиной 50 см)
§ 49. Железобетонные снегозадерживающие заборы долговечнее деревянных. Они выполняются из сборных железобетонных элементов (рис. 8). Для повышения эффективности их работы необходимо предусмотреть устройство разрывов в обрешетке, как в заборах, изготовляемых из дерева. Можно применять смешанные конструкции, состоящие из железобетонных стоек и деревянных панелей.

Рис. 8. Железобетонный снегозадерживающий забор
§ 50. Железобетонные панели изготовляют на строительных площадках, а монтируют (путем закладки в пазы) на заранее установленных стойках. Ямы под стойки копают ямкокопателем, а устанавливают стойки и монтируют панели при помощи передвижного крана.
§ 51. Для большей эффективности работы и во избежание повреждения при таянии и осадке снега заборы необходимо располагать перпендикулярно направлению господствующих метелевых ветров. При ветре, направленном под острым углом к дороге, заборы располагают под углом к ней так, чтобы направление господствующего ветра по отношению к заборам было близким к перпендикулярному.
§ 52. Расстояние между забором и бровкой дорожного полотна зависит от скорости и направления господствующего ветра, а также рельефа местности и колеблется от 15 до 25 высот забора. Большее расстояние принимается при ветре, направление которого составляет с осью дороги угол, близкий к прямому, и при уклоне местности от забора к дороге. Меньшее расстояние назначается при ветре, направленном под острым углом к дороге, и относительно ровной прилегающей местности. Если по местным условиям нельзя удалить забор на указанное расстояние, допускается сокращение расстояния до 10 высот забора при уменьшении просветности его решетки до 30%.
§ 53. В отдельные зимы, когда наблюдаются особенно сильные метели и интенсивный перенос снега и заборы не в состоянии обеспечить надежную защиту дороги, следует выставлять в качестве дополнительного средства снегозащиты переносные решетчатые щиты или прокладывать снежные траншеи. В зависимости от характера снежного вала, собранного забором, и рельефа прилегающей местности щиты можно выставлять двумя способами. Первый способ заключается в установке щитов на гребень подветренного вала, собранного забором, в момент, когда вал достигнет высоты забора, с последующей регулярной перестановкой в сторону дороги. Второй способ состоит в установке щитов с наветренной стороны забора на расстоянии 120 - 150 м от забора с последующей регулярной перестановкой в сторону забора. При совместной установке щитов и забора необходимо следить, чтобы снежный вал, образуемый щитами, не достигал забора во избежание его поломки.
§ 54. Обрешетку деревянных заборов необходимо делать вертикальной, которая лучше сопротивляется излому при оседании снега в весенний период. Элементы заполнения сборных железобетонных заборов могут устраиваться горизонтальными (у железобетонных элементов опасность поломки не возникает).
§ 55. В районах Крайнего Севера применяют заборы снегопередувающего действия. Их рекомендуется применять при одновременном соблюдении следующих условий:
Заборы снегопередувающего действия наиболее целесообразны в открытой, безлесной местности, однако они пригодны и при наличии препятствий (отдельных зданий, возвышений и т.д.), т.е. в стесненных условиях.
§ 56. Заборы снегопередувающего действия применяют для ограждения полувыемок-полунасыпей, выемок глубиной до 5 м и насыпей, высота которых меньше, чем это требуется по формуле (1). Заборы снегопередувающего действия на косогорных участках можно устраивать в том случае, если угол наклона поверхности косогора с горизонтом составляет не более 45°.
§ 57. Основными параметрами заборов снегопередувающего действия, влияющими на их аэродинамические характеристики, являются (рис. 9):
общая высота забора H (от 5 до 8 м в зависимости от требуемой ширины зоны продувания);
высота продуваемого проема h (около 40% H);
высота ветронаправляющей панели
(около 60% H);
угол наклона панели к горизонту
(должен составлять 90°).

Рис. 9. Схема забора снегопередувающего действия
Заборы выше 8 м делать не рекомендуется.
§ 58. Заборы снегопередувающего действия можно строить из дерева или железобетона. Деревянные заборы снегопередувающего действия рекомендуются трех типов (рис. 10): I - общая высота 5 м, высота панели 3 м и продуваемого проема 2 м (рис. 10, а); II - общая высота 6,5 м, высота панели 4 м и продуваемого проема 2,5 м (рис. 10, б); III - общая высота 8 м, высота панели 5 м и продуваемого проема 3 м (рис. 10, в).
а)

б)

в)

Рис. 10. Рекомендуемые типы деревянных заборов снегопередувающего действия:
1 - противопучинные анкеры (брусок 10 x 14 см или пластины длиной 50 см)
Указанные типы заборов обеспечивают следующую ширину зоны продувания:
до 6 м - забор типа I; от 6 до 8 м - забор типа II; от 8 до 10 м - забор типа III.
§ 59. Железобетонные заборы снегопередувающего действия ввиду их большой долговечности предпочтительнее заборов из дерева. Можно применять смешанные конструкции, состоящие из железобетонных стоек и деревянных ветронаправляющих панелей.
§ 60. Ветронаправляющие панели железобетонных и деревянных заборов готовят на строительных площадках и монтируют (путем навешивания или закладки в паз) на заранее установленные стойки. Ямы под стойки копают ямокопателем, а устанавливают стойки и монтируют ветронаправляющие панели при помощи передвижного крана.
§ 61. Для получения надлежащего эффекта заборы снегопередувающего действия необходимо располагать на обочине автомобильных дорог с таким расчетом, чтобы стойка находилась на расстоянии 0,8 м от кромки проезжей части. Если забор ставится на участке, где имеется многолетняя мерзлота, в нижней части опор и подкосов (на расстоянии 15 см от нижнего торца) врезают противопучинные анкеры в виде брусков 10 x 14 см или пластин длиной 50 см, закрепляемых болтами или стальными штырями диаметром 6 мм.
§ 62. В районах с неустойчивым направлением ветра необходимо у мест размещения заборов снегопередувающего действия иметь запас решетчатых переносных щитов. Их выставляют как дополнительную снегозащиту в случае такого изменения направления ветра, при котором заборы снегопередувающего действия перестают эффективно работать (рис. 11).

Рис. 11. Схема размещения дополнительных защит при ограждении заносимого места заборами снегопередувающего действия: 1 - возможные направления ветра; 2 - переносные решетчатые щиты; 3 - господствующее направление ветра; 4 - снегопередувающий забор
§ 63. За работой заборов снегопередувающего действия, как и других снегозащитных ограждений, необходимо вести наблюдение в течение зимы. Если с наветренной стороны забора начнут образовываться снежные козырьки, которые могут заполнить продуваемый проем, их необходимо срезать, отбрасывая снег за пределы дорожного полотна. При срезке снежных козырьков нужно планировать откосы снежного вала, так как обтекаемая форма обеспечивает более эффективную работу заборов.
§ 64. В горной местности при наличии в достаточном количестве камня и при трудности получения лесоматериала защиту дорог от снежных заносов осуществляют с помощью стен, которые выкладывают насухо из плоских камней с перевязкой швов. Высота стен 2 - 2,5 м, ширина понизу 0,8 - 1,0 м, поверху - 0,4 - 0,5 м. В зависимости от объема снегопереноса стены можно устраивать в один или несколько рядов. При устройстве в один ряд стену помещают на расстоянии 12 высот стены от дороги. Расстояние между рядами следует принимать равным 12 - 15 высотам стены.
§ 65. Если дорогу нельзя оградить более совершенными видами защиты, прибегают к простейшим ограждениям с жердевым каркасом и заполнением из местных материалов. Хворостяные снегозадерживающие изгороди высотой до 1,8 м устраивают с горизонтальным заполнением, большей высоты - с вертикальным, а если есть длинный хворост, с наклонным. Изменяя угол наклона в зависимости от длины хвороста, изгороди с наклонным заполнением можно придавать необходимую высоту. При отсутствии хвороста можно использовать в качестве заполнения тростник, соломенные жгуты и другой подручный материал. Снегозащитные ограждения из местных материалов можно делать в виде щитов. Хворостяные щиты обычно имеют раму, состоящую из двух кольев диаметром 6 - 7 см, отесанных на два канта, и трех перекладин, за которые пропускают хворостяное заполнение попеременно с одной и с другой стороны. Применяют также плетеные щиты, которые сложнее в изготовлении, но служат дольше обычных хворостяных щитов.
§ 66. При отсутствии средств механизации защиту делают также в виде снежных стенок. Для их устройства используют бруски размером 20 x 35 см, вырезаемые из снега, когда он достаточно уплотнится. Бруски укладывают друг на друга плашмя с перевязкой в шахматном порядке, оставляя в стенках просветы. Снежные стенки следует делать высотой 80 - 90 см, наращивая по мере отработки новыми рядами брусков.
§ 67. Простейшие ограждения устанавливают не ближе 20 высот от бровки земляного полотна.